近日,中国兼全球第一大钢企宝武,可谓大动作频频,投资新公司、控股上市公司、并购钢铁集团…每一项动作的背后,都是宝武扩大版图,助力行业重组加速的有力之举。
布局国内
入主云海金属
2022年10月18日晚间,云海金属发布(002182)公告,公司拟非公开发行6200万股A股股票,宝钢金属拟以现金方式认购公司本次非公开发行的全部股票;拟募集资金总额为11.1亿元,扣除发行费用后拟全部用于补充流动资金和偿还有息负债。本次发行完成后,宝钢金属将持有公司1.52亿股A股股票,持股比例为21.53%,公司现控股股东、实际控制人梅小明将持有公司116,559,895股股票,持股比例为16.45%。

由此可见,此举完成后,云海金属的控股股东将变更为宝钢金属,实际控制人将变更为国务院国资委。值得一提的是,作为宝钢集团公司全资子公司之一,宝钢金属亦是另一家“宝武系”上市公司宝钢包装的控股股东。因此,若此次宝钢金属顺利入主云海金属,“宝武系”A股资本版图将扩容至10家公司。
控股新余钢铁
新余钢铁集团有限公司公告称,近日,本公司收到江西国控通知,江西国控与中国宝武经协商一致,于2022年10月16日签署《江西省国有资本运营控股集团有限公司与中国宝武钢铁集团有限公司之关于新余钢铁集团有限公司国有股权无偿划转协议》,调整本次划转基准日和净资产数额。

本次划转完成后,中国宝武将持有本公司51%的股权,并实现对新钢的控制。新钢控股股东由江西国控变更为中国宝武,实际控制人将由江西省国有资产监督管理委员会变更为国务院国资委。这标志着中国宝武正式控股新钢,新钢也成功入列央企。随之而来的,中国宝武的钢铁产能将冲击2亿吨。
拿下河北金瑞隆金属制品有限公司
7月28日,河北金瑞隆金属制品有限公司发生大股东变更,迁安市隆顺恒发环保科技有限公司持股比例从100%下降到49%。新增股东欧冶链金再生资源有限公司(以下简称欧冶链金),持股比例为51%。这也标志着欧冶链金正式拿下该公司的控制权,而此次欧冶链金拿下迁安这家公司,也意味着中国宝武通过此次布局进入到了迁安地区。

据了解,河北金瑞隆金属制品有限公司成立于2021年9月29日。目前占地100亩、总投资3.5亿元的废钢资源综合利用项目正在建设中,建成后依托中国宝武品牌和欧冶链金平台,依法合规经营,以基地加工模式为区域内钢厂提供金属再生资源循环利用综合服务,预计2022年完成60万吨的经营量,2024年达到每年300万吨的经营规模。
控股山东鑫海实业
4月17日晚间,太钢不锈发布公告称,山西太钢不锈钢股份有限公司与临沂鑫海新型材料有限公司、山东鑫海实业有限公司签署《山西太钢不锈钢股份有限公司与临沂鑫海新型材料有限公司关于山东鑫海实业有限公司之增资协议》,公司拟向鑫海实业增资39270万元。本次增资完成后,太钢不锈持有鑫海实业51%股权,鑫海新材料持有鑫海实业49%股权。

6月20日,山西太钢不锈钢股份有限公司发布公告称,公司控股子公司山东鑫海实业有限公司已办理完成相关工商注册登记手续,并于2022年6月17日取得了莒南县行政审批服务局核发的《营业执照》。
除了以上已完成的重要变动之外,7月14日,山东钢铁也曾发布公告称,公司接山东钢铁集团有限公司(以下简称“山钢集团”)通知,山东省人民政府国有资产监督管理委员会正在与中国宝武钢铁集团有限公司(下称“宝武集团”)筹划对山钢集团战略重组事项。该事项可能导致本公司控股股东、实际控制人发生变更。这也意味着山钢集团并入宝武集团已经进入实质性推进阶段。
瞄准海外
近年来,宝武集团加速在钢铁产能方面的扩张,通过陆续并购武钢、马钢、太钢,以及山东钢铁等,实现了企业规模的不断扩大。而在布局国内市场,提升国内钢铁行业集中度的同时,宝武还将目光瞄向海外,通过旗下公司的一系列合作签约项目,逐渐扩张其海外影响力。
2012年
2012年,宝武旗下的宝钢资源(50.1%)联合中国河南国际合作集团(40%)与中非发展基金(9.9%)共同成立了香港宝豫有限公司,香港宝豫有限公司全资持有的宝豫利比里亚有限公司获得博米铁矿(Bomi)的勘探许可证。2022年7月22日,利比里亚地矿部于正式向宝豫利比里亚有限公司下发了A类开采证。
2014年5月
宝钢联合澳洲最大铁路运营商商Aurizon以14亿澳元收购Aquila,从而获得澳大利亚优质铁矿项目(API)50%股权,其余股权由韩国钢铁巨擘浦项钢铁(POSCO)及投资机构AMCI持有。
2022年8月
有消息称青山集团正在与宝武集团洽谈出售印尼的不锈钢厂,交易对价超过200亿元,具体交易细节仍在商谈中。若此次交易成功,宝武集团不仅产能进一步提升,还将实现海外生产基地的突破。
2022年9月14日
宝武和力拓就西澳大利亚皮尔巴拉地区的西坡铁矿项目成立合资企业,双方权益比例分别为46%和54%。宝武和力拓还达成一项铁矿石采购协议,宝武将按照权益比例采购力拓总量1.26亿吨的铁矿石产品,每年约采购1150万吨。西坡项目是现有宝瑞吉合资项目(东坡项目)的延续,该项目将于2023年初开工建设,2025年建成投产。
2022年9月20日
宝钢集团新疆八一钢铁有限公司凭借以创新和绿色为主题的产业优势,在第七届中国—亚欧博览会线上线下共签约4个项目,签约金额45.23亿元。而这也是八一钢铁认真落实集团海外发展战略,开展中西亚区域钢铁基地可行性研究,沿丝绸之路,并购或新建海外钢铁基地项目,更高水平参与“一带一路”沿线国家钢铁基地项目的重要布局。
2022年9月30日
宝武资源与赢联盟西芒杜控股公司就几内亚西芒杜铁矿北部区块项目的合作事宜,在沪、京两地举行合作协议核心条款云签约仪式,标志着宝武正式“入局”西芒杜北部项目。
在与国际企业合作的同时,宝武也在一直为实现企业的国际化做准备。2022年7月15日,中国宝武召开人才工作会议,认真学习、贯彻落实中央人才工作会议和中央企业人才工作会议精神。会上,陈德荣指出世界一流企业一定是走出国门的企业,要大力提升宝武人才国际化水平,确保公司“三年内实现海外钢铁基地重大突破,十年内初步形成全球化布局”目标落地,这样,中国宝武才能称得上是真正的国际化公司。
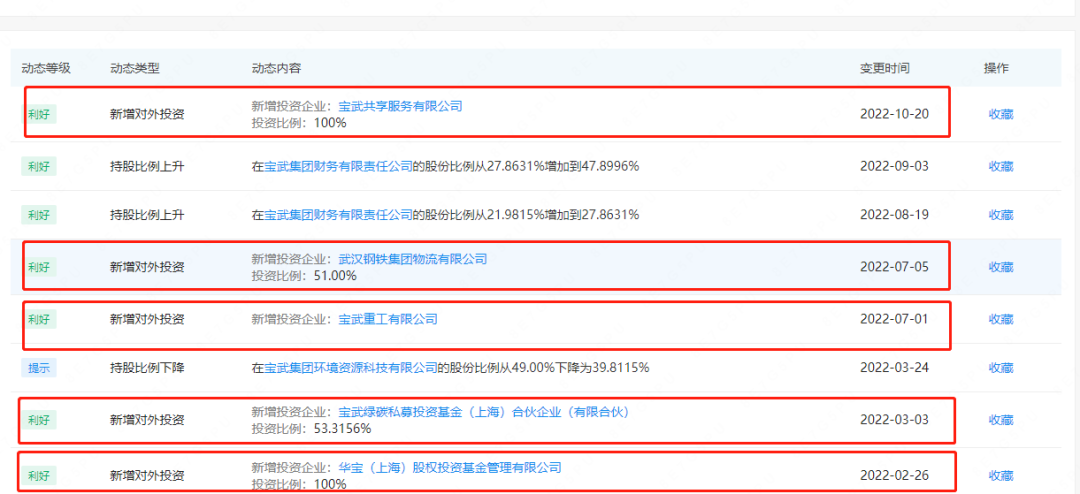
除此之外,今年以来,宝武还先后投资了华宝(上海)股权投资基金管理有限公司、宝武绿碳私募投资基金(上海)合伙企业(有限合伙)、宝武重工有限公司、武汉钢铁集团物流有限公司、宝武共享服务有限公司五家公司,通过内部的投资整合为宝武的扩展奠定基础。

其实,自2017年成为国有资本投资公司试点企业以来,中国宝武便不断加强资源产业布局,通过对国内企业的并购重组,与海外企业的战略合作,一步步扩大自己的版图和规模。而在2022年6月19日,中国宝武正式转为国有资本投资企业之后,更是以强有力的举措加速了对钢铁产业链各重点领域的纵深融合和专业化整合,未来,相信宝武必将全面发挥资本运作能力,逐步实现投资管理的专业化和规范化,为创建世界一流伟大企业不断努力!